篠原凉子主演日剧公布新阵容 杰西、知英等加入“越狱”故事
先锋娱乐网讯www.10go.com 日本电视台(NTV)1月期新周日剧《Punch-Drunk Woman-离越狱还有××天-》于12月5日公布了包括杰西、知英在内的9位追加演员阵容。本剧由篠原凉子主演,围绕女狱警与杀人犯展开一段前所未有的越狱故事。

剧情主线:女狱警与杀人犯的复杂交锋
该剧讲述了一直认真勤恳生活的女狱警冬木小惠(篠原凉子 饰),因与杀人犯日下怜治(杰西 饰)相遇,人生轨迹逐渐偏离,转变为“恶女”。知晓小惠过去的刑警佐伯雄介(藤木直人 饰)也将被卷入其中,三人的关系复杂而摇摆。
新阵容聚焦“囚犯”角色:知英时隔六年再演日剧
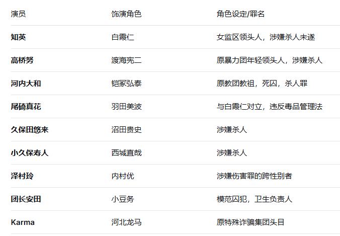
此次新公布的角色主要围绕监狱中的囚犯展开。其中,知英将饰演女监区的领头人、涉嫌杀人未遂的白霞仁。她表示:“这是时隔约6年再次出演日本连续剧,这个角色对我而言也是挑战。”此外,泽村玲(ONE N' ONLY)、团长安田(安田大马戏团)与Karma三人均为首次在黄金时段剧集中担任常规角色。


